Чертежи печи для бани из металла
- Чертежи печи для бани из металла
- Чертеж печи для бани из кирпича. Как сложить печь для бани из кирпича
- Металлическая печь своими руками чертежи. Печь своими руками из металла: чертежи, варианты изготовления, идеи применения и разнообразие по видам топлива (100 фото)
- Металлическая печь для бани своими руками. Печи для русской бани, сделанные своими руками
- Банная печь жара чертеж. Печи для бани Жара: фото, характеристики, чертежи, схемы +ВИДЕО
- Металлическая печь для бани с закрытой каменкой своими руками. Преимущества закрытой каменки
Чертежи печи для бани из металла
Что самое главное в бане — конечно же печь. Существует множество готовых решений печей, которые можно купить в магазине, но в этой статье мы рассмотрим чертежи для самостоятельного изготовления печей из металла.

Печь для бани из металла своими руками
Этапы изготовления
Чертежей печи для бани достаточно много и каждый из них имеет свою функциональность. Начнем с топки для печи.
- Топка — первое что нужно сделать. Размеры топки вы определяете самостоятельно, исходя из размеров вашей парной.
Главное помнить, что ширина и высота топки должны быть одинаковы. - На некоторых чертежах печей из металла вы можете увидеть готовые решения, которые можно купить в магазине ,а не вырезать и варить самостоятельно. Например, дверцы, решетки, ручки и так далее. Вы сэкономите массу времени, если приобретете их в магазине.
- Почти на всех чертежах топка состоит из 2 частей. В одной части горят дрова, а другая предназначена для сбора золы и также выполняет функцию поддувала.
- Если на верхнюю часть топки будут ложиться камни, то ее следует сделать из решетки. Можно сделать декоративную решетку для красоты.

Важно! Если Вы решили сварить печь для бани самостоятельно — отнеситесь с особым вниманием к толщине металла. Металл должен быть не менее 5 мм, чтобы при нагревании его не повело.

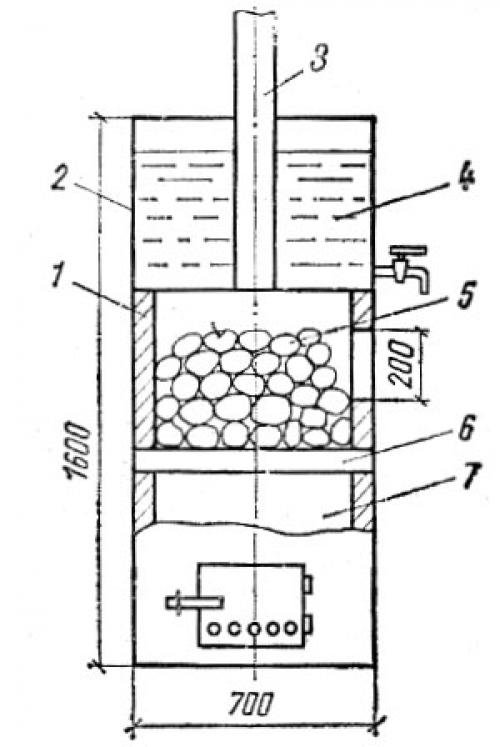
Подробный чертеж печи для бани из металла
Бак для воды и место для камней
- Сразу над топкой делается емкость для засыпки камней.
- На некоторых чертежах емкость является открытой и вода поливается на камни сверху.
- На других чертежах печей можно встретить емкость для камней с дверцей, которую необходимо открывать для полива воды на камни. Так камни быстрее прогреваются в закрытой емкости и дольше сохраняют тепло.
- В каменке используются специальные камни для бани. Можно конечно использовать обычные речные, но эффект будет не тот.
- Над каменкой устанавливается бак с водой. Через него также должна проходить труба, которая будет подогревать воду.
- В бак с водой можно вмонтировать кран для набора горячей воды.
Также не забудьте про то, что через каменку должен проходить дымоход.

Печь с открытой каменкой

Чертеж печи из металла с каменкой и баком для воды
Трубу также необходимо изготавливать из трубы с большой толщиной металла. Так она не сразу прогорит и будет служить вам долго.

Печь для бани с трубой, проходящей через каменку и водяной бак
Дымоход
Также на чертеже печи для бани необходимо указать место, где дымоход будет проходить через крышу. Это место необходимо тщательно изолировать, так как воздух, проходящий через трубу очень горячий.

Дымоход для бани
Для изоляции дымохода от крыши лучше приобрести готовые решения, которые продаются в специализированных магазинах для бани.
Таким образом сделать печь для бани по чертежам самому не так уж и сложно. К тому же в магазинах продается много готовых решений (решетки, дверцы, баки, трубы, дымоходы, изоляция дымохода), применяя которые соорудить печь будет еще проще.
Чертеж печи для бани из кирпича. Как сложить печь для бани из кирпича
Невзирая на многообразие дровяных отопителей для бани из металла и чугуна, предлагаемых на рынке, традиционная конструкция печи из кирпича остается актуальной и востребованной. Это неудивительно, ведь она хорошо прогревает парную, долго сохраняет тепло и обеспечивает ее сухим паром. Также кирпичная печка помимо парилки может обогревать и 2—3 смежных помещения (моечную, предбанник). В данной статье мы расскажем, как правильно сложить печь для бани из кирпича своими руками, поделимся опытом в части подготовительных работ и устройства фундамента.
Виды печей для бань
В первую очередь нужно подобрать подходящий готовый проект печи. Опытные печные мастера умеют разрабатывать собственные схемы применительно к условиям кладки и эксплуатации. Значит, нужно воспользоваться их опытом и взять готовую схему, а для этого надо понимать, какие существуют кирпичные печи для бани.

Четко классифицировать отопители по видам весьма затруднительно, их слишком много, но условно все разработки можно разделить на группы по таким критериям:
- способ передачи тепла в помещение;
- расположение каменки;
- способ подогрева воды.
Эффективность теплоотдачи во многом зависит от конструкции и принципа действия отопителя. По данному критерию существующие виды печей можно поделить на:
- канальные: название явствует о том, что печка имеет один или множество каналов (газоходов) для дымовых газов. Последние, проходя по этим каналам, отдают тепло кирпичным стенкам. Газоходы могут проходить в теле печи как вертикально, так и горизонтально;
- колпаковые печи И. В. Кузнецова: здесь принцип теплоотдачи иной, продукты горения отдают теплоту, скапливаясь в пространстве под специально сделанным колпаком. Причем выйти оттуда они могут только после остывания, поэтому печь выходит очень теплоемкой.
Совет. Колпаковые печи весьма сложны в исполнении, домашнему мастеру без опыта построить такой вряд ли удастся. Поэтому новичку лучше начинать осваивать кладку кирпичных печей канального типа.
Засыпка из камней (каменка) может располагаться как внутри печи, так и быть открытой. На качество работы этот критерий особо не влияет. А вот способ подогрева воды может повлиять на длительность протапливания парной. Здесь существуют такие технические решения:
- регистр из стальных труб или бак из нержавейки, встроенный в тело печи, а точнее, в газоход;
- варочная плита: вода подогревается на ней в больших емкостях.
Нужно учесть, что хорошая печка из кирпича с варочной плитой хоть и прогреет парилку быстрее, но неудобства с горячей водой в кастрюлях не сравнить с проточным теплообменником внутри газохода, соединенным с накопительным баком.
Проекты печей для бань
Как уже говорилось, различных проектов кирпичных печей существует великое множество. Мы предложим несколько типовых схем, вы можете воспользоваться ними либо найти что-то подходящее в технической литературе. Итак, первая — схема печи для бани из кирпича с открытой каменкой и встроенным баком для нагрева воды:



Примечание. На этой схеме и в дальнейшем используются следующие условные обозначения:

Для возведения данной печи понадобится 415 шт. кирпича и такие комплектующие, как:
- дверца топки 210 х 250 мм и поддувала – 140 х 140 мм;
- дверки для прочистки 140 х 70 мм – 2 шт.;
- бак из нержавейки 200 х 300 х 490 мм;
- плита чугунная 410 х 410 мм;
- решетка колосниковая 175 х 255 мм;
- задвижка 120 х 230 мм и 2 задвижки 130 х 130 мм.
На следующей схеме показана порядовка банной печи:



Печь-каменка с греющей плитой
Данный отопитель для бани вместо встроенного бака оборудован плитой на 2 конфорки, а каменка находится в теле печи, прямо над топкой. Хотя конструкция предусматривает возможность установки внутреннего водогрейного котла, это отображают соответствующие схемы кладки печей для бань:


На строительство отопителя потребуется 650 кирпичей, а также печная фурнитура:
- дверца топки 210 х 250 мм и поддувала – 140 х 140 мм;
- дверки для прочистки 140 х 70 мм — 4 шт.;
- плита чугунная 410 х 710 мм;
- решетка колосниковая 175 х 255 мм;
- круг стальной Ø20 мм – 3 м;
- бак для воды из нержавеющей стали 220 х 380 х 630 мм – при необходимости.
В этом варианте порядовка кладки для печей выглядит следующим образом:

Банная печь с нижним прогревом
Это небольшая кирпичная печка, в силу особенностей конструкции требующая хорошего фундамента. По сути, на его устройство уйдет больше времени, чем на выполнение самой кладки. Вот схема отопителя в разрезе:

Помимо 260 шт. кирпичей на строительство еще понадобится:
- дверца топки 210 х 250 мм и поддувала – 140 х 140 мм;
- дверки для прочистки 140 х 140 мм – 2 шт.;
- дверцы камеры для камней 210 х 250 мм – 2 шт.;
- плита чугунная 410 х 410 мм;
- решетка колосниковая 175 х 255 мм;
- задвижки 130 х 240 мм и 130 х 130 мм.


Металлическая печь своими руками чертежи. Печь своими руками из металла: чертежи, варианты изготовления, идеи применения и разнообразие по видам топлива (100 фото)
Теплицы, гаражи, мастерские – перечисленные объекты в холодное время года требуют автономного отопления. Жаль, что не каждый собственник такой недвижимости способен подвести к ней теплый трубопровод.

Однако все не так уж плохо – самодельная печь из металла своими руками может спасти ситуацию.

Конструкция печи
Прежде чем собирать металлическую печь вручную, надо знать, что собой представляет ее конструкция:
- Топка;
- Поддувало;
- Камера для закладки камней (необходима при работе в бане);
- Резервуар, где хранится вода;
- Колосники;
- Решетка для топки;
- Решетка для поддувала;
- Трубные задвижки.
Для изготовления металлической печи берутся листы из соответствующего материала. Но упростить задачу можно, используя готовые бочки, трубы, огнетушители.

Какой металл использовать
В преддверии изготовления печи обязательно надо осмотреть металл на наличие дефектов – коррозии, трещин, выпуклостей. Если они есть, их надо обработать методом шлифовки, сварки, штамповки.

Надежность и прочность печи придает материал, из которого она собрана. Подходящими металлами для тематической задачи можно считать:
- Обычную сталь;
- Жаропрочную сталь;
- Чугун.

Если печь изготовлена из готовой емкости, то порой в качестве последней выступает бидон или огнетушитель. Самый прочный материал – сталь. Но данный показатель (прочность) также зависит от толщины. Если она составляет 10-18 мм, то печь будет служить долго.

Кроме классических вариантов можно также сделать печь мангал из металла своими руками. Здесь уже можно ограничиться толщиной 3-6 мм, чтобы конструкция имела малый вес для удобной переноски.

При наличии большого количества чугуна придется делать тяжелую печь со стенками толщиной 6-25 мм. Несмотря на свой огромный вес, соответствующие конструкции быстро нагреваются и надолго сохраняют тепло. Говоря иначе, чугунные печи имеют хороший КПД.
Плюсы и минусы
Металлическая печь является неплохим источником тепла. Ее можно делать самостоятельно при наличии определенного опыта, чертежей, инструментов и расходных материалов.

Однако перед изготовлением тематической конструкции надо взвесить все «За» и «Против».
Среди преимуществ металлической печи имеют место:
- Простота конструкции, позволяющая изготовить ее вручную;
- Возможность переноски и транспортировки;
- Удобная эксплуатация;
- Компактность;
- Прочность и износостойкость.

Надо только, чтобы металлическая печь имела хороший уровень нагрева и умела хранить тепло. Все остальное – дело техники.

К слову, для работы с металлом используются разные электроинструменты:
- Электродрель;
- Болгарка;
- Сварочный инвертор.

При отсутствии режущего электроинструмента можно ограничиться ручным – ножовкой по металлу, зубилом, молотком. Некоторые мастера вместо сварки соединяют фрагменты металла крепежными элементами – болтами.

Радует тот факт, что любая буржуйка, будь это даже банная печь из металла своими руками, не требует подготовки фундамента. Надо только установить дымоход и обеспечить к нему путь.
Находясь все время в помещении, печная конструкция может поддаваться химическим реакциям разве что из-за сгорания твердого или жидкого топлива.

Но это не мешает ей служить в течение десятков лет. Деформации также исключены, если стенки металла имеют толщину не менее 8 мм.
Металлическая печь для бани своими руками. Печи для русской бани, сделанные своими руками
Самое главное при изготавливании по чертежам металлических печей для бани своими руками – это учесть, что невозможно при разогретых металлических стенках поддерживать нужную температуру в пределах 60-65 ºС (прочитайте: «Чертежи банной печи из металла – строим печь своими руками «). Обязательно придется перетапливать, что сопровождается излучением сильных ИК волн, при котором довольно тяжело находиться рядом с печью.
Решить эту проблему можно двумя методами:
- Произвести футеровку топки . Процесс заключается в обкладывании топки изнутри огнеупорным кирпичом. Достаточно укладки на ребро, при этом толщина футеровки составит 6 см, хотя встречается и узкий шамот, толщиной 3 см. Как бы то ни было, нагрев стальных стенок является незначительным, больше всего прогревается каменка. Поэтому сразу следует спроектировать топку, чтобы она была увеличенных размеров, потому как большая часть ее объема отводится на футеровку. Недостатком такого способа считается то, что в результате вырабатывается горячий дым, что понижает пожаробезопасность. Лучше всего провести его охлаждение путем установки бака или каменки на трубу. Немного сложнее – установить отопительный щиток, проходя через который, дым остывает до 80-120 ºС.
- Установить кирпичный экран вокруг печи из железа для бани. Его собирают из керамического кирпича, при этом в стенке оставляют окошки для монтирования дверок, которые позволят в будущем контролировать уровень прогрева воздуха. Можно сделать вывод, что такой вариант является лучшим из-за возможности регулирования температуры, однако он менее практичен, так как задняя стенка очень сильно перегревается, поэтому приходится в конструкцию включать жаропрочную сталь. В таком случае получается, что для более продолжительного срока службы железной банной печи, нужно выбирать довольно толстый металл. Его, как показывает практика, лучше устанавливать в верхней и нижней части топки.
Банная печь жара чертеж. Печи для бани Жара: фото, характеристики, чертежи, схемы +ВИДЕО
Дополнительная информация о банных печах «Жара» (ранее мы опубликовали отзывы о печах «Жара»). Указаны марки печей и их вид в разрезе — это может пригодиться тем, кто планирует делать самодельную печь из трубы.
- 1 Жара-стандарт 500
- 1.1 Чертеж печи «Жара-стандарт 500»
- 2 Жара-малютка 700
- 2.1 Схема печи «Жара-малютка 700»
- 3 Жара-стандарт 650
- 3.1 Схема печи «Жара-стандарт 650»
- 4 Жара-супер 800
- 4.1 Схема печи «Жара-супер 800»
У печи есть топочный короб шириной 250 мм.
Печь «Жара-стандарт 500»
Технические характеристики печи «Жара-стандарт 500» Объем парилки 8-22 м. куб Ширина 530 мм Глубина 250 мм Высота 400 мм Толщина свода8 мм Масса 112 кг Масса камней 100 кг Цена 13600 руб. Чертеж печи «Жара-стандарт 500»Чертеж печи «Жара-стандарт 500»
Поскольку печь малогабаритная, то она хороша подойдет для маленькой парной.
Жара-малютка 700Бак для нагрева воды устанавливается на печь сверху.
Печь «Жара-малютка 700»
Технические характеристики печи «Жара-малютка 700» Объем парилки 4-10 м. куб Мощность 16 кВт Ширина 470 мм Глубина 710 мм Высота 690 мм Толщина свода топки 8 мм Масса 90 кг Масса камней 60 кг Объем топки 82,6 литра Объем каменки 28 литров Объем бака для воды 40-50 литров Цена 12600 руб. Схема печи «Жара-малютка 700»Схема печи «Жара»
Жара-стандарт 650Печь с навесным баком.
Печь «Жара-стандарт 650»
Технические характеристики печи «Жара-стандарт 650» Объем парилки 12-18 м. куб Мощность 28 кВт Ширина 530 мм Глубина 665 мм Высота 795 мм Толщина свода топки 8 мм Масса 125 кг Масса камней 80 кг Объем топки 117 литров Объем каменки 35 литров Объем бака для воды 60-80 литров Цена 14400 руб. Схема печи «Жара-стандарт 650»Схема печи «Жара-стандарт 650»
Жара-супер 800Визуально, печь мало чем отличается от печи «Жара-стандарт 650». Что касается толщины металла трубы-топки, то у Жара-супер, она на 2 мм больше (10 мм).
Печь «Жара-супер 800»
Технические характеристики печи «Жара-супер 800» Объем парилки 18-32 м. куб Мощность 34 кВт Ширина 530 мм Глубина 815 мм Высота 795 мм Толщина свода топки 10 мм Масса 160 кг Масса камней 120 кг Объем топки 140 литров Объем каменки 46 литров Объем бака для воды 60-100 литров Цена 25500 руб. Схема печи «Жара-супер 800»Схема печи «Жара-супер 800»
Внимательные читатели, глядя на схемы, наверняка заметили, что для увеличения мощности печей, производится сдвиг выхода дымоходной трубы относительно выхода горячих газов из топки. Благодаря такому несложному трюку, удается увеличить площадь интенсивного нагрева верхней части топки, над которой расположена каменка.
Металлическая печь для бани с закрытой каменкой своими руками. Преимущества закрытой каменки
Пример печей с закрытым типом каменки
Первые бани, построенные «по-черному», строились таким образом, чтобы камни лежали на пути огня. Имели прямой контакт с пламенем, за счет чего раскалялись докрасна. Сейчас такой тип бань встретить можно редко ввиду большого количества хлопот, связанных с эксплуатацией постройки. Открытая каменка, выполненная своими руками или приобретенная, не имеет прямого контакта с огнем. Температура камней повышается, благодаря контакту со стенками печи, тепло передается от камня к камню.
Чем большей будет площадь соприкосновения камней с нагретой огнем стенкой, тем быстрей и лучше они прогреются. Имеются котлы, в которых камни располагаются тонким слоем, почти полностью прижимаясь к одной из нагретых стенок. Подобная конструкция легко справляется с генерацией требуемого количества пара и нагревом парилки.
Имеются модели с двумя типами каменки, открытым и закрытым, установленными одновременно. Но приобретать подобный тип печи нет смысла. Продуктивней для прогрева камней использовать закрытую каменку, конструкция которой похожа на духовой шкаф.
Построенная своими руками печь с закрытым типом каменки
Во время прогрева помещений дверь «духовки» закрывается, и жар идет сквозь камни, быстро их нагревая. После прогрева дверца открывается, оставаясь в таком положении до конца банных процедур. Выходит, что вначале температура в бане высокая, влажность низкая. Постепенно воздух остывает, насыщается влагой.
Закрытая каменка может быть построена в двух вариантах:
- Периодического действия. Через печь при данном виде конструкции проходит весь дым и отчасти пламя. Пока дрова полностью не сгорят, открывать дверцу нельзя. Каменная поверхность будет подвергнута налету сажи, и если на камень потом налить воды, вся сажа распространится по помещению. Здесь камня класть много не нужно, ведь контакт со стенкой только с одной стороны, отчего верхняя часть кладки может прогреваться недостаточно.
- Постоянного действия. Огонь и дым полностью изолированы от камней. Каменка изолирована, и ей можно пользоваться как во время топления бани, так и после этого.
Фирменная печь с закрытым типом каменки
Преимущества закрытых каменок:
- Прогрев камней очень глубокий. Благодаря этому создается отличный пар. Это и есть основное, ради чего каменку делают закрытой.
- Высокая скорость нагрева камней. Не требуется протапливать баню несколько часов, ведь для нагрева обычно хватает минимального количества времени, в зависимости от количества камней и объема конструкции.
- Тепло держится очень долго по сравнению с другими типами печей. Баню можно не подогревать дровами длительное время, но пар от камней будет еще долго держаться.
- Возможность регулировки температуры в помещении. При открывании дверцы каменки, температура в комнате сразу начнет повышаться, ведь придет значительный приток тепла. Если становится жарко, дверцу можно прикрыть. Даже при заливании каменки водой можно ненадолго закрыть дверцу, после чего камни снова прогреются за счет внутреннего жара.